Jodel D112 1/72 - Montage / Scale 1:72 Assembly

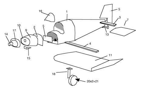
1. Préparer le fuselage en arrondissant les différentes partie. Seul le plancher est à plier. Commencer le collage par l'arrière du fuselage. Son extrémité ne se colle pas pour insérer la dérive.

2. Après collage et séchage complet des pattes du plancher, incisez les passages du renfort de voilure. Le mettre en place et le coller en vérifiant l'équerrage. Mettre en place et coller les cloisons 5 (contre le renfort) et 2. Incisez les passages du renfort des ailerons, l'insérer et le coller. Assemblez le capot avant

3. Mettre en forme chaque moitié de la voilure en arrondissant l'extrados et en pliant le bord d'attaque. Coller les deux bords de fuite. Encoller les pattes de raccord de dièdre et positionner l'aile dans le gabarit pour respecter l'angle. Mettre en position et coller les deux ailes.

4. Le train d'atterrissage est simplifié: constitué d'une patte pliée collée sous la voilure. Coller les roues en vérifiant l'égalité des niveaux de chaque côté.

Nomenclature / Parts

Return


Mise à jour 17 décembre 2000
© 1999-2000 - P. Gauriat - Diffusion interdite sans autorisation -
Distribution prohibited without permission.