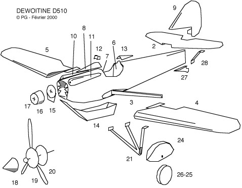
Utiliser de préférence du carton de 100 à 160
g/m2. Doubler par du carton fort les pièces 3, 15 et
éventuellement 17.
Commencer le montage par la mise en forme de la pièce 1.
Marquer les plis de la partie inférieure et
légèrement le début des plis supérieurs
près de la queue. Bien arrondir le dessus à l'avant et
à l'arrière du cockpit. Le collage de la pièce 1
se fait en commençant par l'arrondi avant du dessus en bords
joints à l'aide de la languette 1a. Ensuite coller la partie
inférieure le plus près de la queue. Placer la
pièce 6 à l'intérieur du fuselage. Avant de
fermer complètement la partie inférieure, mettre en
place le tableau de bord 7. Lorsque les collages sont secs tailler
les petites ouvertures de passage de la pièce de renfort de la
voilure 3.
Use 100 to 160gsm paper or cardstock. Double with heavier cardstock parts #3, #15 and possibly #17. Begin assembly of part #1.
